Ứng dụng của máy sấy nhiệt đối lưu trong chế biến trái cây sấy khô
Máy sấy nhiệt đối lưu là một công cụ không thể thiếu trong quá trình chế biến trái cây sấy khô hiện đại. Phương pháp sấy này mang lại nhiều ưu điểm vượt trội so với các phương pháp truyền thống, giúp tạo ra sản phẩm chất lượng cao và đáp ứng nhu cầu thị trường ngày càng khắt khe.
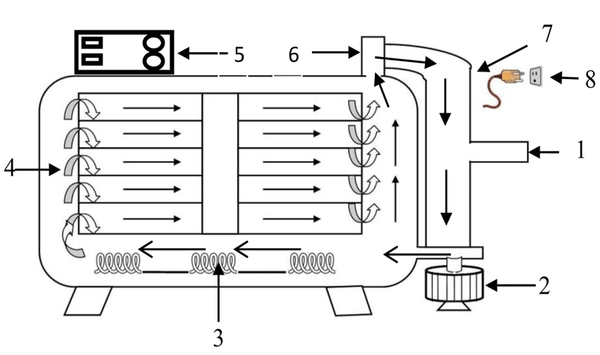
Nguyên lý hoạt động

-
Khí vào
-
Quạt gió
-
Bộ gia nhiệt
-
Buồng sấy với khay tháo rời
-
Bảng điều khiển
-
Cửa xả khí nóng
-
Đường dẫn khí
-
Phích cắm điện
Máy sấy nhiệt đối lưu hoạt động dựa trên nguyên tắc đối lưu không khí nóng. Không khí nóng được tạo ra bởi các thanh nhiệt hoặc các nguồn nhiệt khác, sau đó được quạt thổi tuần hoàn đều trong buồng sấy. Quá trình đối lưu này giúp loại bỏ độ ẩm từ bề mặt trái cây, làm cho chúng nhanh chóng khô ráo.
Ưu điểm khi sử dụng máy sấy nhiệt đối lưu

- Giữ nguyên màu sắc, hương vị và chất dinh dưỡng: Nhờ việc kiểm soát nhiệt độ và độ ẩm chính xác, máy sấy nhiệt đối lưu giúp bảo toàn màu sắc tự nhiên, hương vị thơm ngon và các chất dinh dưỡng có giá trị của trái cây.
- Thời gian sấy ngắn: Quá trình sấy diễn ra nhanh chóng và hiệu quả, giúp tiết kiệm thời gian và năng lượng.
- Sản phẩm đồng đều: Luồng không khí nóng phân bố đều trong buồng sấy giúp trái cây được sấy khô đồng đều, tránh tình trạng cháy khét hoặc chưa khô hoàn toàn.
- Vệ sinh an toàn: Máy sấy nhiệt đối lưu dễ dàng vệ sinh và tiệt trùng, đảm bảo sản phẩm đạt tiêu chuẩn vệ sinh an toàn thực phẩm.
- Linh hoạt: Máy sấy có thể điều chỉnh nhiệt độ, thời gian sấy và lưu lượng không khí để phù hợp với từng loại trái cây và yêu cầu sản phẩm khác nhau.
Ứng dụng trong chế biến trái cây sấy khô
- Sấy các loại trái cây: Máy sấy nhiệt đối lưu phù hợp để sấy khô nhiều loại trái cây khác nhau như xoài, mít, chuối, táo, nho, dâu tây…
- Sấy các sản phẩm từ trái cây: Ngoài trái cây nguyên quả, máy sấy còn có thể sử dụng để sấy các sản phẩm từ trái cây như hoa quả sấy dẻo, mứt trái cây, các loại hạt…
- Sản xuất các sản phẩm đặc biệt: Máy sấy nhiệt đối lưu có thể được sử dụng để sản xuất các sản phẩm trái cây sấy khô đặc biệt, như trái cây sấy cấp đông, trái cây sấy thăng hoa…
Một số lưu ý khi sử dụng máy sấy nhiệt đối lưu
- Chọn loại máy sấy phù hợp: Lựa chọn máy sấy có công suất, kích thước và các tính năng phù hợp với quy mô sản xuất và loại trái cây cần sấy.
- Chuẩn bị nguyên liệu: Trái cây cần được sơ chế kỹ trước khi đưa vào máy sấy, bao gồm rửa sạch, cắt miếng, loại bỏ hạt…
- Điều chỉnh nhiệt độ và thời gian sấy: Nhiệt độ và thời gian sấy sẽ phụ thuộc vào loại trái cây, độ dày của miếng trái cây và độ ẩm ban đầu của nguyên liệu.
- Kiểm tra sản phẩm thường xuyên: Trong quá trình sấy, cần kiểm tra sản phẩm thường xuyên để đảm bảo quá trình sấy diễn ra đúng theo yêu cầu.
Kết luận:
Máy sấy nhiệt đối lưu là một công cụ hữu ích trong việc chế biến trái cây sấy khô, giúp tạo ra sản phẩm chất lượng cao, đáp ứng nhu cầu của người tiêu dùng. Việc ứng dụng công nghệ sấy này không chỉ giúp nâng cao giá trị của sản phẩm mà còn góp phần phát triển ngành chế biến nông sản.
Bạn có muốn tìm hiểu thêm về các loại máy sấy nhiệt đối lưu hoặc các quy trình chế biến trái cây sấy khô khác không?
Để được tư vấn và hỗ trợ tốt nhất, xin vui lòng liên hệ với chúng tôi:
- Website: https://enoagri.vn/
- Hotline: 0987.024.690
- Địa chỉ: 77/2a Lê Văn Khương, Phường Hiệp Thành, Quận 12, TPHCM
Lưu ý: Thông tin chi tiết về sản phẩm và giá cả có thể thay đổi tùy thuộc vào thời điểm và chính sách của công ty.
Tham khảo máy sấy nhiệt 50kg
Tài liệu Wikipedia








